2020年到了,MikroTik的欧洲MUM受到新型冠状病毒影响取消了,按照惯例开年在欧洲的第一场MUM是他们家的新品发布会,这个内容没有看到有点遗憾,但近期MikroTik的网站已经上线了新的产品。在MikroTik News_95简报中,提及了3款新品,hAP ac3,CCR2004-1G-12S+2XS,CRS326-24G-2S+IN,当然还有其他内容,有兴趣的朋友可以去MikroTik论坛下载看看(
https://forum.mikrotik.com/viewtopic.php?f=21&t=160539)
MikroTik在News_95简报开头这样写到:
在COVID-19病毒爆发期间,许多企业都实施了远程办公,工作人员在家里自我孤立,依靠互联网进行工作。我们看到此次疫情对LTE终端用户产品需求的增长,LTE对许多没有本地互联网接入的家庭最佳选择,好像在推广他们的LTE产品。
hAP ac3
hAP ac3从感觉上应该延续hAP ac2的高性价比,但我看了很失望,这款产品只说重点:首先他CPU几乎没有换,ac2用的是IPQ-4018,ac3用的是IPQ-4019两者没有太大区别,但我们没有从高通IPQ40x8/40×9资料上找到两者区别在哪里,就当他们两个CPU一模一样吧。最大区别是加入了CAT6的LTE网卡,支持300Mbps LTE网络,然后内存又升级到了256M,再换了一个外壳。价格:219刀,是的加了CAT6的LTE网卡就要差不多1400元RMB,我估计国人对4G的CAT6不太感冒,因为我们有5G。

还出了一款CRS326-24G-2S+IN,这款没什么好说的,
CRS326-24G-2S+RM换个桌面壳。
CCR2004-1G-12S+2XS
这款产品才是重点,今年新品的开始,CCR系列也终于更新了,从此摆脱Tilera构架阴影,真切的投抱ARM阵营,CCR2004-1G-12S+2XS是CCR2xxx的一个开始,后续高端产品应该会陆续涌现。
根据官方介绍:CCR2004-1G-12S+2XS是目前为止单核处理性能最强的路由器。MikroTik产品线中,第一次提供了是25G接口,与CRS317-1G-16S+RM、CRS312-4C+8XG-RM、CRS326-24S+2Q+RM等MikroTik产品配套使用,网络扩展性更强。在性能方面,CCR2004-1G-12S+2XS可以与CCR1009/CCR1016路由器相媲美。

来看看参数:
| 产品代码 |
CCR2004-1G-12S+2XS |
| 构架 |
ARM 64bit |
| CPU |
AL32400 |
| CPU核心数 |
4 |
| CPU默认频率 |
1700 MHz |
| RAM |
4 GB |
| ROM |
128 MB |
| 存储类型 |
NAND |
| 10/100/1000以太网口 |
1 |
| SFP+ 端口 |
12 |
| 25G SFP28 端口 |
2 |
| Serial口 |
RJ45 |
| 操作系统 |
RouterOS L6 |
| AC 电源接口 |
2 |
| AC 输入电压范围 |
100-240 |
| 最大功率 |
49 W |
| 最大功率无附件配件 |
32 W |
| 工作温度 |
-20°C ~ 60°C |
| 尺寸 |
443 x 224 x 44 mm |
| CPU温度监控 |
Yes |
| PCB温度监控 |
Yes |
| 电压监控 |
Yes |
| 售价 |
$595.00 |
CPU采用了亚马逊公司旗下的Annapurna处理器ARM构架的AL32400, 1.7G主频,之前RB1100x4用的是AL21400,采用的是Cortex A15 4核心,工作频率1.4GHz,AL32400我没有查到资料,一些朋友说AL32400感觉就是AL21400的超频版本,估计他们没有注意看到一个细节,MikroTik在资料上写了是ARM 64bit,Cortex A15是32bit,只有从Cortex A53开始才是64bit,所以我个人猜测是Cortex A53构架的,也就是和树莓派3B+的CPU类似。
官方说单核处理性能达到3.4Gbps,基于ARMv8构架的单核性能得到了很大提升,比Tilera构架的单核性能强很多,所以在处理如bandwidth-test这样单线程任务适合,单核CPU能更好的应付,单线程负载到一个核心上,由于性能强劲不会出现跑到100%。不会因为单CPU处理性能差,使得部分核心消耗突然增大,可能出现网络延迟增加,CCR1xxx系列就有这个通病。
从端口看,12个SFP+和2个SFP28端口,个人感觉SFP28的接口虽然很多交换产品已经支持,但好像使用的人不多,还是10,40,100G较多。当然SFP28是兼容1G和10G模式。
MikroTik最大的诚意我觉得有两点,一是产品设计框架图,能了解整个产品的设计构架,能够很清楚的掌握该产品的硬件信息。二是能给出在桥接、路由和配置25条防火墙策略状态的吞吐量测试结果。这两个信息提供比很多厂家给的硬件信息要良心很多。

特别提醒大家看看总线带宽, MikroTik是详细给出了网络端口的带宽,这个非常总要,特别是三层处理,那就是要看端口芯片到CPU的总线带宽是多少,流程跑超了,别说MikroTik产品坑你,是你自己把自己坑了(当然MikroTik在三层转发上还是不行),RB和CRS还是要特别关注下这个参数。
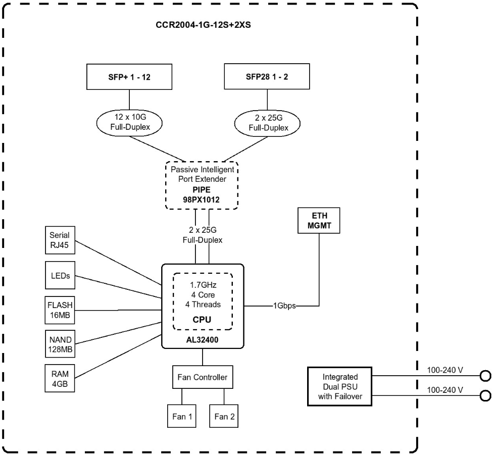
说下CCR2004的硬件设计,AL32400 的SOC管理了各种外围设备,有一个单独的1G管理接口,最主要的是到Marvell的98PX1012 PIPE(Passive Intelligent Port Extender,无源智能端口扩展器),总线带宽双向2*25G,又来看看Marvell给的框架

网络接口支持12个10G,3个40G,与Soc总线连接支持4x25G,2x50G,1x100G和1x40G,CCR2004用的2x25G总线,也就是所有网络接口到CPU带宽是50Gbps(根据官方提供CCR2004的吞吐量数据最大是36Gbps),如果后续CCR2xxx系列产品还是用这个芯片,也在吞吐量增加的情况下,总线带宽也会随之扩容,网络接口可能会出现40G的QSFP+。
我开始对98PX1012 PIPE认识很少,误以为是交换芯片,支持二层hw-offloading,仔细查阅后发现是端口扩展器,并邮件询问了官方,得到的回复也确定只是端口扩展器,二层数据需要交给CPU处理,官方还是对CCR和CRS产品线有区分的,如果换了交换芯片,估计有真的要升天了。
来看看官方给出的吞吐量测试,我仍然给出64Byte下的测试对比:

性能是基于AL21400产品RB4011和RB1100x4的一倍,接近于CCR1009,那CCR2004就是替代CCR1009的,价格差不多4200RMB左右,要比CCR1009略贵,当然从整体性能来看是不错的。
个人觉得,这款产品其实是替代CCR1009系列,价格比CCR1009略贵,这个涨价和全球经济问题离不开,对于CCR1016、1032、1072的后续产品应该还在路上,也充分体现了ARM构架是当前路由器市场的主流,MikroTik产品线中的比重越来越大。